最新展览丨《黄金宝典》——中国古代黄金术!( 二 )

文章插图
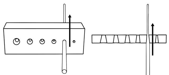
图8 扭卷法制丝
文章插图
图9 展品,龙首钗局部金丝的螺旋纹痕迹,苏州市考古研究所藏唐代以后扭丝法逐渐被拉拔法所替代。拉拔法是指将金条透过拉拔的方式穿过金属錐形孔。进入一側的孔径较宽,而拔出一侧较窄。在多个不同孔径的錐形孔中由粗至细依次拉拔,金条亦即逐渐变细变长,终成幼丝(图10)。这也是现代金工广泛采用的方法。
文章插图
图10 拉抜法示意图05珠化珠化即将金制成极小金珠,并焊接在器物表面的技术。它同样源自西方,东周时传入中国。制作小金珠并不复杂,通常利用液态表面张力形成球状的原理,直接加热细小金段即能成珠。大量制珠的方法则包括将金液倾倒在撞击点上的泼珠法(图11);或是在木炭粉中埋入多段金料后整体加热的吸珠法等(图12)。
文章插图
图11 吸珠法示意图
文章插图
图12 泼珠法示意图金珠制成后需被焊接在器物表面。焊接往往才是珠化技术的难点。历史上有不同的辅助手法,例如可将金银铜粉末作为焊料添至焊点一并加热。这种方法利用了“烧结”原理:金属在成粉末状时更容易进入熔融状态。此外还可以用铜盐(如孔雀石粉)和含碳的粘黏剂配合,加热时碳和铜盐中的氧结合,还原得铜。又可使用助熔剂如硼砂、硵砂、胡桐树树液等。助熔剂在冶金学上往往有促进焊料流动,去除金属表面氧化膜、提纯精炼等作用。06附饰黄金有耐氧化特质,适合附饰在其他器物的表面,一方面节省材料,另一方面也给予器物一层表面防护。其中,包金、贴金是与金薄片/金箔同时出现的一种应用技术。商代晚期以来,大量出土的金薄片即使用于包、贴在器物上。时至今日,它们仍是一种常见的饰金方法。而从东周开始,金属器物的黄金附饰则开始走上了另一技术路线。春秋中晚期,一种在青铜器表面制槽,并将金或银丝镶嵌其中的方法开始出现,即是所谓的错金银技术(图13)。
文章插图
图13 错金丝示意图错金银工艺中镶嵌金银丝并不复杂,难者在于金银片的镶嵌。最广泛使用的金片镶嵌技术则仍要数“镶边法”,即将金片的边沿部分镶嵌进入槽体,从而使得整块金片固定(图14)。
文章插图

文章插图
图14 镶边法示意图及江苏盱眙大云山江都王陵出土错金环饰局部,南京博物院藏错金银之外,战国中晚期一种新的技术——鎏金也开始出现。鎏金是金汞剂加热鎏金法的简称,它利用汞能与大部分金属混合成合金,且在室温中呈半液态的特点,将金汞混合的金汞剂涂附在铜器表面,加热到一定程度令汞蒸发,并让金与铜产生一定程度扩散结合,从而使金附饰于器表。银、铜器的附饰技术与铁器亦有所差别。铁器更加坚固,槽体的加工较铜银器更加困难。以往一些被称为是“错金银”工艺的铁器,例如马家塬西戎文化中大面积金银附饰的车马器,经过检测研究认为实际上是贴金或贴银工艺(圖15、16)。
文章插图
图15 铁贴金示意图
- 这张兵马俑的脸受世界瞩目,暗藏秘密至今无解,现已禁止出国展览
- 被德军抢走的一块破布,他用21万买下,成为禁止出国展览文物
- 国博“中国古代书画”展览换新 新添多件一级馆藏书画
- 博物馆展览铜镜,为何只展示背面原来还有这样的意思
- 最新!一图读懂“十四五”时期主要目标任务
- 《唱响新时代的雷锋精神赞歌——学雷锋纪念日主题展》|铜图展览 | a2954
- 【文化年货】茌平区公益性艺术培训成果线上展览(二)——国画及中堂画作品
- 金沙湖艺术中心最新进展来了
- 加拿大皇家造币厂推出霸王龙最新收藏纪念币
- 「黄敏侨」|丹青追梦 水墨本色-中国当代书画名家个人云展览
