上海交通大学|疫情过去,3个专业将成为“热门中的热门”!6所大学成香饽饽!

文章图片

文章图片

文章图片
经历了新冠状病毒的之后 , 中国的经济不断从复苏到持续增长 , 是全国人民共同努力的结果 , 是中华民族凝聚力和创造力不断凝集的结果 。 现在进入了后疫情时代 , 有很多家长和考生都在问 , 什么专业会变成未来的火爆专业 , 相对应的学校是什么样子的?
公共卫生与预防医学—流行病学与卫生统计学专业
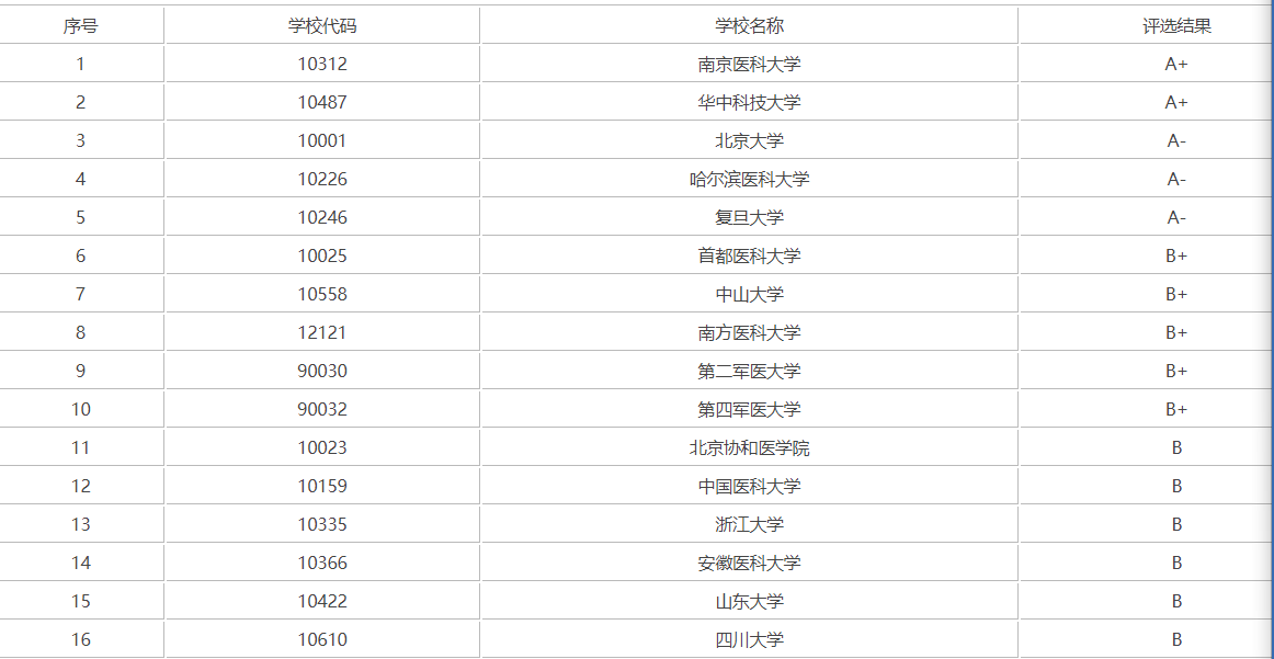
下面这张图是第四轮评估的学科结果 , 大家做一下参考 , 这里列出了B级及以上的结果 , 感兴趣的小伙伴们可以查一下其他级别的评估结果
流行病学与卫生统计学为公共卫生与预防医学的一个二级学科 。
【上海交通大学|疫情过去,3个专业将成为“热门中的热门”!6所大学成香饽饽!】流行病学与卫生统计学—A+级的学校 南京医科大学 华中科技大学
南京医科大学
这所大学是医药类的公立大学 , 成立创办于1934年 , 国家重点学科有3个 , 人年还有工程院士3个 , 够牛吧!拥有硕士点、博士点、博士后科研流动站 。 学校的地理位置非常不错在江苏南京 。 国家级重点学科为药理学、内科学、劳动卫生与环境卫生学 。
华中科技大学
这所大学再熟悉不过了 , 是1952年创办 , 主管部门为教育部 。 我们亲切的称呼人家为“华中大” 。 可不是一所专门的医学院 , 人家可是综合类的985公办大学 。 科学院院士有7人 , 工程院院士就有11人之多 。
本科专业有103个 , 是全国著名的重点大学 。
临床医学
下面是第四轮评估的结果 , 可以看到上海交通大学、浙江大学有两个A+ , 在所有高校中拔得头筹 。
临床医学—A+级的学校 上海交通大学、浙江大学
上海交通大学
前面大家都称呼它为“上海交大” , 有些人叫的习惯了 , 都叫上交大 , 加个“上”子 , 是为了区别于陕西省的西安交通大学 。
这所大学建立于1896年 , 教育部主管 , 是一所综合类的公立大学 。 是985工程、211工程 , 也是全国重点大学 。 拥有67个本科专业 , 拥有9个国家重点学科
浙江大学
很多人叫这所大学为“浙大” , 是教育部直属大学 , 创建于1897年 , 也是双一流、985工程、211工程 , 拥有128个本科专业 , 拥有5个校区 。
药学
药学学科最好的学校为北京协和医学院、中国药科大学 , 也是第四轮评估结果 。
北京协和医学院
这所大学是医药类的公立大学 , 创办时间为1917年 , 是世界一流学科建设高校 , 也是全国重点大学 。 拥有2个本科专业 。
中国药科大学
这所大学是一所211工程大学 , 也是世界一流学科建设高校 , 拥有工程院士2人 , 25个本科专业 , 学校位于江苏南京 , 拥有两个校区 。 这所大学的创建时间在1936年 , 历史也较为悠久 。
- 疫情|青海 复产复销向好 消费市场回暖
- 债券指数|乐观情绪持续燃烧,国际机构布局“后疫情”机会
- 香港发生第四波新冠疫情 “港版方舱”或于25日重启
- 国家卫健委:昨日,31省区市新增确诊病例11例,其中境外输入病例9例,本土病例2例均在上海
- 昨日上海新增2例本地新冠肺炎确诊病例,新增1例境外输入病例
- 疫情|湖北新冠疫情专家李十月逝世,出差途中突发脑溢血
- 检测|浦东机场连夜集体测核酸,上海南站辟谣
- 张文宏再“发声”:各地疫情防控非常到位,未来不能放松警惕
- 香港疫情强烈反弹,港府收紧社交距离措施:酒吧等不得进行现场表演及跳舞活动
- 上海浦东国际机场组织相关人员进行集体核酸检测
