蓝盾|蓝盾股份上演“量子奇迹”:股价上涨20%,债券涨超70%( 三 )

文章插图
造成蓝盾股份2019年业绩亏损的原因主要是计提商誉减值。报告期内,公司对三家子公司计提商誉减值约7.5亿元,另外计提应收账款坏账准备约3.2亿元、无形资产减值约1亿元。
值得注意的是,由于前些年热衷于并购扩张,蓝盾股份的货币资金由2016年的20.93亿元骤降至2019年的2.75亿元,账面商誉却从2016年的8.098亿元增至2018年的12.45亿元。
文章插图
2019年,在经过大额计提商誉减值后,蓝盾股份的账面商誉仍有4.936亿元,2020年上半年公司账面商誉未做计提,倘若年内继续计提商誉减值,公司年底业绩恐难乐观。
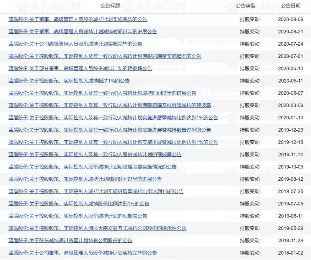
在蓝盾股份陷入业绩困境的同时,从实控人到公司高管,却踏上了减持套现之路,并且一发不可收拾。从2018年至今,公司发出的与减持相关的公告多达20份。
文章插图
公司业绩不振,加上实控人及高管纷纷减持套现,蓝盾股份的股价走势也不乐观。相比2015年的历史最高价22.8元,公司股价至今累计跌超70%(前复权),比“腰斩”更惨。
文章插图
目前,蓝盾股份涉及的法律诉讼多达8起,其中3起诉讼被申请诉前财产保全,公司募投项目“蓝盾信息安全产业园”建设用地被查封,正常生产经营受到较大影响,盈利能力堪忧。
文章插图
此外,1起诉讼已作出判决,要求蓝盾股份子公司偿还本息合计2.48亿元。另有5起诉讼仍在审理阶段,这5起诉讼的判决结果会对公司造成什么影响,目前还是未知数。
至于蓝盾股所宣扬的量子密码实验室项目,在公司近期公告中并未看到其身影,真实成色如何,恐怕要打个问号了。
如今,在政策利好加持下,蓝盾股份股、债双双大涨,一时间风头无两。但这种热闹的场面可以维持多久,谁又说得好呢?
- 诸葛亮上演“空城计”时,为何偏偏要让四个人在门前扫地?
- 孩子|被同学嘲笑父亲是“瘸子”,女孩上演全武行,父亲的话让人佩服
- 刘备临终上演毒计,为刘禅清除后患,诸葛亮死前才觉悟
- 重重|一场权力的杀戮,事关两个家族一百年的博弈,阴谋、暗战重重上演
- 授衔|新中国第一次授衔,仪式结束上演奇特一幕,上将齐聚给一中将敬礼
- 高官|汉奸还是卧底?宋朝士子成金朝高官,上演南宋版《无间道》
- 周湘林作品音乐会上演:走出书斋扎根泥土,他愿做一个谦卑的匠人
- 史上“最美潘金莲”,在日本综艺上演劲爆画面,观众眼睛都看直了!
- 阶层|罗马上演真实的“螳臂当车”的故事,一个人对抗整个权贵阶层!
- 上演|理发师被迫从军上战场,在战俘营遇到真爱,上演了刻骨铭心的故事
