听听晚报-苹果AR眼镜新专利公布、苹果减少征收开发者佣金
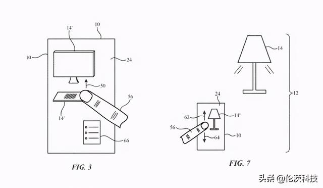
苹果AR眼镜新专利公布
文章插图
苹果智能眼镜新专利描述了一个系统 , 该系统允许佩戴 AR 头戴设备时 , 利用手势控制周围的电子产品 。 根据描述 , 用户能够在头盔里看着想要操控的电子设备 , 利用手指悬空指向设备并滑动 , 就可以实现控制电脑、调节台灯亮度等操作 。 专利中写道 , 输入输出设备可能包括独立传感器 , 用于识别环境中外部电子设备的;用于显示外部电子设备信息的显示界面;用于从用户手指收集触摸输入或手势的组件 。
苹果将减半对小型企业征收的 App Store 佣金
文章插图
苹果正式推出 App Store?型企业和个体开发者计划 , 针对每年营收少于 100 万美元的?型企业采取降低抽成的措施 , App Store 佣?降?15% ;该计划将于 2021 年1月日正式启动 。 苹果表示 , 由于在疫情特殊期间 , 面对全球经济带来的挑战 , 小型企业和独立开发者会受到更大的影响 , 此举旨帮助在?型企业和独?开发者有更好的资源进行 App 开发和发展 。 同时这项计划的推出预计也会影响到 App Store 整体服务的营收利润 。
一句话短讯 AirPods Studio或将圣诞节直接上架
三星电子计划在 2022 年量产 3 纳米芯片
【听听晚报-苹果AR眼镜新专利公布、苹果减少征收开发者佣金】外媒:印度政府或将修订法案 , 禁止采购华为、中兴电信设备
- 智能手机市场|华为再拿第一!27%的份额领跑全行业,苹果8%排在第四名!
- 无国界|嘴上说着支持华为,却为苹果贡献了2000亿!还真是科技无国界啊?
- iPhone|折叠屏iPhone要来?曝苹果开始测试|OPPO Reno5真机曝光
- iPhone12|“果粉”心灰意冷,苹果iPhone12问题频出,老毛病又犯了
- iPhone|接近8千万!苹果被罚款了!中国iPhone用户这次真的该生气了!
- 误导|苹果又吃巨额罚单,因iPhone防水宣传有误导被重罚9400万
- 打响|拼多多打响双12首枪,iPhone12降到“mini价”,苹果11再见
- 苹果|iPhone13迎来变化!或回归指纹解锁,这几点备受用户喜爱
- 不到|苹果赚了多少?iPhone12成本不到2500元,华为和小米的利润呢?
- 屏幕|苹果iPhone12屏幕不仅发白,还绿的你发慌,用户:环保绿
