蓝厂|OPPO想申请注册“绿厂”商标!网友:蓝厂vivo搞快点
【 蓝厂|OPPO想申请注册“绿厂”商标!网友:蓝厂vivo搞快点】因品牌LOGO颜色为绿色,所以OPPO在手机圈又被称为绿厂。近日,绿厂想将“绿厂”注册成商标,引发关注。企查查信息显示,OPPO广东移动通信有限公司于11月9日申请注册“绿厂”商标,国际分类为“9类 科学仪器”,状态为“注册申请中”。
文章插图
OPPO申请注册“绿厂”商标
值得一提的是,在手机圈还有一个“颜色厂”与OPPO齐名,那就是“蓝厂”vivo,其得名原因和OPPO相似。因此有网友评论道:“蓝厂搞快点!”巧的是,vivo也想将“蓝厂”注册成商标,而且早就行动了。
文章插图
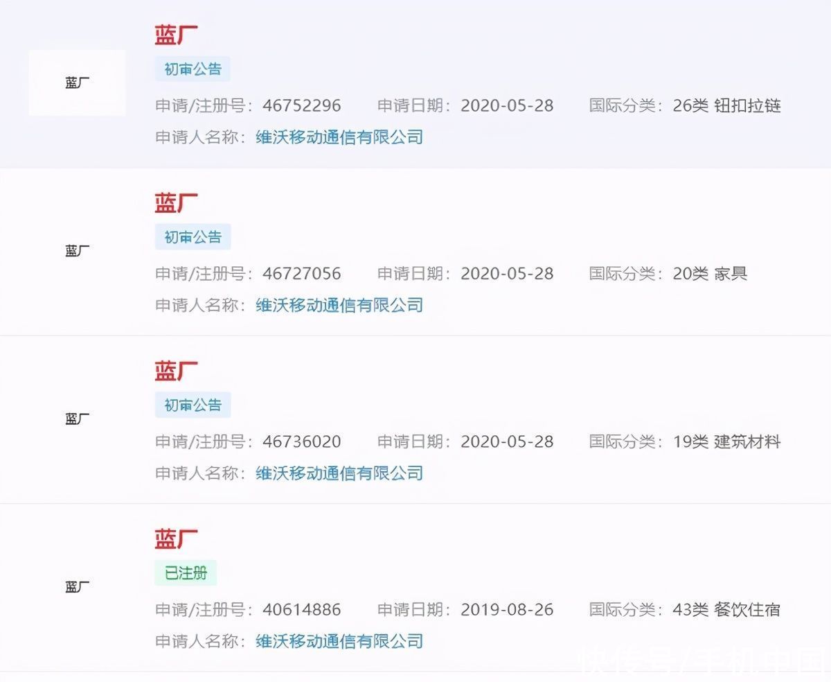
vivo申请注册“蓝厂”商标
企查查信息显示,维沃移动通信有限公司已于2019年8月26日注册多个“蓝厂”商标,国际分类为“42类设计研究”“43类餐饮住宿”等,状态为“已注册”。另外,vivo今年还申请注册了更多“蓝厂”商标,并已通过初审。
- iPhone|折叠屏iPhone要来?曝苹果开始测试|OPPO Reno5真机曝光
- 覆盖|iPhone13Pro概念机:机身正面被屏幕全覆盖,库克想搞事情?
- 率先|还在相片美颜?OPPO已进军视频美妆领域,周冬雨或率先体验
- 中国视频|人日评论点赞!OPPO成视频手机先行者,新技术或下月发布
- 曝光|OPPO新机曝光,配置强悍颜值动人,“三金影后”为其代言
- 登场|OPPO Reno5新品手机真机亮相,代言人周冬雨登场
- 效果|周冬雨化身美妆效果评测员?相比美妆数码宅的我更期待OPPO新机
- 究竟|免费的OPPO R1电视究竟怎么样
- 政治目|瑞典限制华为引商界巨鳄不满:这是想步澳大利亚等国后尘?
- 手机|OPPO手机该如何截屏?四种最简单的方法已汇总!
