华为申请的液态镜头|华为吓人的技术曝光!可能用在华为P50上,网友:真这样必买

文章插图
华为Mate40Pro作为目前华为旗舰手机,无论是在拍照方面还是在硬件参数方面,都有着非常不错的表现。尤其是华为Mate40Pro搭载的电影级别的摄像头,对于拍照方面的效果,目前在DXOMark手机拍照排行榜单中排名第一。华为手机从华为P20系列开始,就对手机的拍照能力不断的升级,而且每代旗舰手机发布之后,华为手机的拍照能力都是排名第一的。不过华为最新的专利曝光,华为已经申请了全新的液态镜头,并且极可能会率先配备在华为P50Pro上。
文章插图
【 华为申请的液态镜头|华为吓人的技术曝光!可能用在华为P50上,网友:真这样必买】实际上华为的这个专利早在2019年12月25日就申请了相关发明专利,只不过现在才被曝光而已。目前外媒表示,从已知的消息来看,华为很可能已经解决了液态镜头的量产问题,很可能会在明年的华为P50系列手机上进行首发尝试。如果这个消息一旦成真的话,那么华为P50系列手机搭载液态镜头上市之后,势必又要大卖了。
文章插图
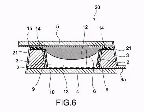
对于液态镜头实际上目前外界了解的并不多,华为申请的液态镜头专利技术,可谓是打破了目前传统摄像头的设计理念。原本的手机镜头是由多组镜片组成,也就是厂商在宣传的时候所说的7P镜头,也就是7个镜片组成的摄像头。而华为申请的液态镜头,则不再需要多组镜片来实现成像过程,而是利用镜头内部的液体来实现对焦。而且液态镜头技术目前来看是一种仿生技术,和人眼睛的成像原理非常相似。
文章插图
而且华为申请的液态镜头在很多方面都占有优势,因为其原理是利用两侧的电压让镜头内的液体发生形变,从而实现液体镜头对焦过程。外媒表示华为申请的液态镜头专利中包含了很多优点,一是对焦速度极快,可以像人眼一样做到毫秒级别,成片率百分之百并且对焦过程不再像传统的手机镜头那样需要等待。二是变焦范围更大,使用不同电压改变液体曲率,不需要机械移动,就能获得大倍率光学变焦。三是占用空间更小,因为不需要多组镜片进行组合对焦拍照,所以摄像头再也不会高出手机机身,也就是说手机镜头不再凸起。四是制造成本更低,因为在镜头内部是液体,比传统的多镜片设计要更加节省成本。
文章插图
目前华为遭遇的困境还是比较多的,但是华为在之前申请的一些专利技术,还有搞投入的研发成本,很可能在未来会得到体现。所以如果华为P50系列真的搭载全新的液态镜头上市发售,那么未来华为依靠华为P50系列手机翻盘的可能性会很大。而且对于华为液态镜头的这个新技术,也有不少网友表示,如果华为P50系列手机真的搭载液态镜头上市发售,那么肯定在第一时间入手。那么你会第一时间购买搭载液态镜头的华为P50吗?
- 看不上|为什么还有用户看不上华为Mate40系列来看看内行人怎么说
- 智能手机市场|华为再拿第一!27%的份额领跑全行业,苹果8%排在第四名!
- 会员|美容院使用会员管理软件给顾客更好的消费体验!
- 行业|现在行业内客服托管费用是怎么算的
- 人民币|天猫国际新增“服务大类”,知舟集团提醒入驻这些类目的要注意
- 国外|坐拥77件专利,打破国外的垄断,造出中国最先进的家电芯片
- 长安|长安傍上华为这个大腿,市值暴涨500亿!可见华为影响力之大?
- 占营收|华为值多少钱
- 技术|做“视频”绿厂是专业的,这项技术获人民日报评论点赞
- 面临|“熟悉的陌生人”不该被边缘化
