按关键词阅读:
预热了3个月,比亚迪刀片电池发布会终于在3月29日正式举行。
借由本次发布会,我们来看看这款电池还有哪些特点?
■ 刀片电池是什么?
刀片电池,因其长且薄,形似“刀片”而得名,是比亚迪新一代磷酸铁锂电池的名称。
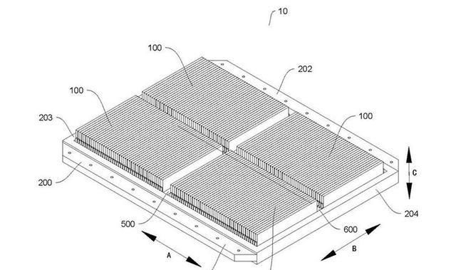
根据比亚迪公布的数据来看,刀片电池的规格从435mm-2500mm不等,具体数据如下表所示。这种电芯其实高度同现在方壳电池相比没有变化,厚度相比软包电芯略厚,主要变化是长度。

文章图片
这种电芯既是能量体,又是结构件。既满足了能量密度的需求,也满足了电池PACK的强度需求。
■ 为什么比亚迪会选择刀片电池?
1、电池模组规格演化的必然
在之前发布的《全村人的希望,续航500km的别克VELITE 7究竟能不能打?》这篇文章里,我表达了这样一个观点“刀片电池其实是对电池PACK横向空间的一种极致压榨”。事实上,早期那些“油改电”的纯电动车,因为不同车型的空间差异过大,因此“如何最大化利用空间,”是一个让整车厂头疼的大问题。
比亚迪刀片电池的一种布局形式
这种情况下,德国汽车工业协会最先提出VDA标准电芯尺寸,最早由大众研发出355模组。后来LG化学、宁德时代、三星SDI等大厂相继跟进,355模组成为最早的通用模组。再到后来,这种压榨进一步强化,出现了大众MEB平台的590模组。目前来看,通用汽车、宝马等大厂的电池模组都有这种趋势。
刀片电池则是比590模组更进一步的存在,以一颗长2500mm的电芯,占据整个电池PACK的宽度,对电池PACK内部的空间利用到了极致。
2、CTP技术的成熟
【 『CTP技术的成』众多车企寻求合作,比亚迪刀片电池发布会都说了什么?】比亚迪的刀片电池离不开CTP技术的成熟。正是基于CTP技术的成熟应用,比亚迪刀片电池才能解决磷酸铁锂电池能量密度低、续航里程低的缺点。

文章图片
比亚迪刀片电池的另一种排列形式
CTP技术全称Cell To Pack,也叫无模组技术,目前有两种不同的技术路线。一是彻底取消模组的方案,比亚迪刀片电池是最好的代表;二是小模组整合为大模组的方案,以宁德时代的高镍三元锂电池为代表。在实现电池PACK轻量化的同时,CTP技术也提高了电池PACK在整车的连接强度,这对优化包内空间利用率和提升能量密度以及降成本有积极作用,有助于车企和电池企业降低制造成本。
据比亚迪刀片电池的专利申请书显示,相比现有的三级结构电池PACK,刀片电池的包内体积利用率提升了50%,除去电池管理系统、配电箱等组件,包内空间利用率大概在62%左右。受到不同的电芯布局方式影响,包内空间利用率分别为55%、60%、62%、65%,如有需求甚至可以达到80%。
3、磷酸铁锂的安全优势
无论是三元锂电池,还是磷酸铁锂电池,CTP技术的应用会显著提高整包的能量密度。那么,电池安全的重要性成为所有人不得不面对的问题。比亚迪选择磷酸铁锂电池,正是看中了其优异的安全性能。
总结起来,磷酸铁锂电池有以下4点安全优势:
1、放热启动温度高
2、放热慢
3、产热少
4、不释痒
在新国标中被取消的电池针刺实验,比亚迪的刀片电池就能很轻松的通过验证,但部分三元锂电池则会出现起火,甚至爆炸的现象。这正是磷酸铁锂电池自身的物理特性带来的显著优点。
4、刀片电池成本更低
动力电池约占整车成本的40%,因此如何降低动力电池成本是所有主机厂的头等大事。根据比亚迪刀片电池申请专利的数据显示,新产品的成本可以降低20%-30%。这里面包含电池Pack本身的成本的因素,也包含简化了生产组装工艺,导致不良率下降的因素。
显然,更低的电池成本,也是比亚迪选择刀片电池的重要原因。
■ 哪些车型会搭载刀片电池?
作为比亚迪轿车系列的旗舰,汉EV将是第一款搭载刀片电池的车型。根据此前报道,搭载了刀片电池的汉EV,NEDC续航里程为550km/605km,电池容量为77kWh;新车预计今年6月份正式上市。

文章图片
目前, 比亚迪官方还没有透露,其他车型更换刀片电池的信息。不过,一个既定事实是,2020年磷酸铁锂电池的市场份额一定会迎来增长。比亚迪副总裁、弗迪电池董事长何龙介绍,很多车企正在跟比亚迪商谈刀片电池的合作可能。我们也期待,未来能看到更多搭载比亚迪刀片电池的纯电动车出现。
■ 邦点评
从技术角度来看,比亚迪的刀片电池的确非常先进。既解决了电动汽车的电池安全问题,也解决了磷酸铁锂电池能量密度不高的缺点。同时,刀片电池还能有效的降低电池成本。那么,这款优点多多的电池,装车后的实际表现如何,未来等比亚迪汉上市后,电动邦也会第一时间为大家带来报道。

稿源:(老司机聊汽车)
【】网址:http://www.shadafang.com/c/sc467609.html
标题: 『CTP技术的成』众多车企寻求合作,比亚迪刀片电池发布会都说了什么?