隐私|App Store 应用隐私新规下周实行,苹果再次提醒
从 2020 年 12 月 8 日起,提交至 App Store 的新 App 和 App 更新都将需要包含此信息。但现有 App 将仍可供下载。届时,在每款 App 的产品页面上,用户能了解到该 App 可能收集的某些数据类型...
从 2020 年 12 月 8 日起,提交至 App Store 的新 App 和 App 更新都将需要包含此信息。但现有 App 将仍可供下载。届时,在每款 App 的产品页面上,用户能了解到该 App 可能收集的某些数据类型...
#英梨梨的动漫屋#因为《原神》的火爆,我也经常在Apple Store中看见有关《原神》或者米哈游(别名米忽悠)的编辑推荐故事。也就是这么巧,Apple Store更新了一篇名为“米哈游总裁‘大...
清除方法一:首先我们要在PC端进行下载iTunes,在苹果官网进行下载并安装到PC,然后使用数据线把需要被清除锁屏密码的iphone与电脑进行连接,连接后需要把iphone进入DFU模式。iphone6s及...
目前手头拥有的就是主流的iPhone 12、iPad Pro、MacBook Pro、Apple Watch 5、AirPods Pro、Apple TV等设备,以及要12月5号才能到货的M1芯片的Mac mini。本文还是以配件推荐为主,关于苹果全家桶我这里...
苹果在之前的几款设备发布之前发送了类似的备忘录。在今年宣布发布iPhone 12之后不久,库比蒂诺建议技术人员为与AppleCare相关的相同更改做准备,包括发布新产品以及描述和价格的更...
MagSafe Duo并没有附带电源适配器,当搭配苹果的20W USB-C电源适配器时,它可以为iPhone充电,最大功率为11W,当搭配27W或更高的USB-C电源适配器时,它可以以上述14W的功率充电。一些用户可...
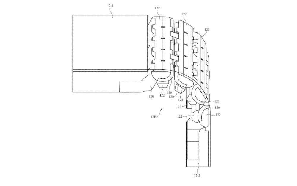
苹果过去曾为可折叠iPhone的某些设计申请了专利,这是该公司将来将在某个时候推出可折叠手机的又一证明。但是,有关最新专利的一个值得注意的方面是该公司在铰链结构方面的工作...
此前,知名爆料人@L0vetodream在推特上表示,苹果将于今年圣诞节推出一款惊喜产品,并透露是「冬季专用」。 而国内爆料准确率极高的数码博主@Kang 近日也发博称,不出意外的话,苹...
作为一款售价高达10000+的售价,如果主板真的坏掉了,维修的价格可能会让你心碎,所以奉劝各位用户买来手机后,还是老老实实戴上手机壳吧,而且还要避免进水,虽然官方表示该机...
苹果在之前的几款产品发布之前发布了几乎相同的备忘录。例如,在今年宣布举行iPhone 12活动后不久,苹果建议技术人员在10月13日上午10点(即活动开始时候)准备与AppleCare相关的相同...