Reno5系列|OPPO Reno5或将提供4G版本:搭载骁龙720G处理器!
不过,最新的爆料信息显示,在OPPO Reno5标准版、OPPO Reno5 Pro、OPPO Reno5 Pro+之外,OPPO Reno5系列或将提供4G版本。一具体来说,2020年12月8日,根据多家科技媒体的消息,来自海外爆料达人...
不过,最新的爆料信息显示,在OPPO Reno5标准版、OPPO Reno5 Pro、OPPO Reno5 Pro+之外,OPPO Reno5系列或将提供4G版本。一具体来说,2020年12月8日,根据多家科技媒体的消息,来自海外爆料达人...
结合此前消息,OPPO Reno5 系列将延续此前的视频手机的大方向深耕,并进一步强化人像视频的拍摄能力。所谓的「科技感」有很大可能和这个能力相关。 这就不得不提,OPPO Reno5 系列行...
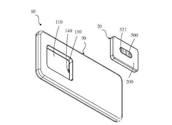
另外,相机模块拥有两个传感器和一个药丸状的LED闪光灯。...
此外,红米10X在设计,外观和声音质量方面都有很好的经验,并且非常平衡。并且为了应对5G的高功耗,红米10X还具有4250mAh的大电池并支持22.5W快速充电,这可以使用户在正常使用中更加...
讲实话,这个iPhone Xs Max竞争力还是有的,虽然iPhone11和iPhone12的价格还更低,但是这个旗舰在有些方面完全也不虚。正面采用的是6.5寸的刘海屏+玻璃机身设计,不仅拥有很高的颜值,而...
不过和此前不同,这款手机品牌并非格力而是大松,是格力旗下主营生活电器的品牌,手机有6GB+128GB和8GB+256GB两种规格可选,售价分别是2699元和2999元。 硬件配置方面,这款手机采用...
??在画质方面,采用4K?QLED量子点屏幕,能够比传统LCD电视展现出更广的色域和更准的色彩。可视屏占比高达93%,还通过了杜比视界?(Dolby?Vision)认证,具有更宽的色域和高动态范围?(HDR)。...
总的来说,这款手机虽然处于降价阶段,但是性价比却不是很高,你会考虑这款手机吗?欢迎留言。...
无论您是Apple,华为还是Samsung的粉丝,都可以选择很多选择,但是市面上手机太多,而且还很不错,这让你该怎么选择呢,所以我就帮你选好了。下面这些都算是市面上顶端的拍照最好...
一加8T雾面磨砂材质的玻璃和银色的配色相得益彰,3D的背面弧线保证了良好的握持手感,同时镜头模组和机身外形的设计保持统一。从视觉观感来说,一加8T是简单但漂亮的手机。OPPO...