
文章插图
【拍卖过程竞价回顾】
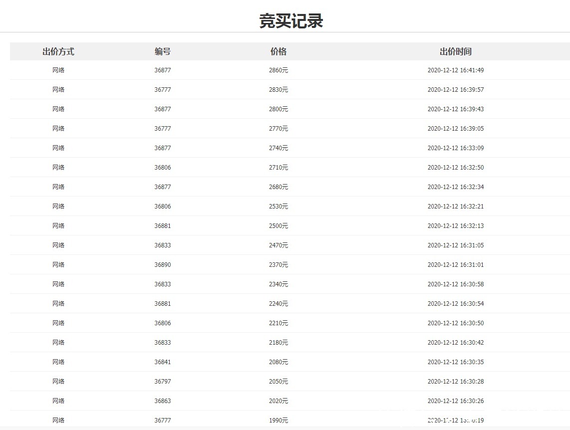
2020年12月12日16.46.49。经过21次竞价,宁夏回族自治区银川市某企业的废旧墩柱异形模板一批以2860元/吨的价格在聚拍网拍拍卖成交。其废旧墩柱异形模板一批起拍价为1900元/吨,最终成交价228.8万元成交!

文章插图

文章插图

文章插图

文章插图

文章插图

文章插图

文章插图
【 模板|拍卖成功!银川市的废旧墩柱异形模板一批以228.8万元成交】对于这次的拍卖大家觉得这样算不算是捡漏呢?欢迎大家来一起讨论,发表你的观点。
- 水浒传中有种失败的战术,金庸笔下被一大侠所用,却成功克敌制胜
- 他是花荣之子,宋江死后,他绝处逢生,最后成功逆袭当上泰国驸马
- 岳飞部将神级的人物一下干掉金国四个元帅,金人用神器复仇成功
- 太平天国成功后,中国社会将如何?专家:五个方面发生根本变化
- 四个亿买了件“赝品”古玩,亏不亏?
- 乔领、宁雪君国礼福看盘,牛年履新拍卖开局大吉
- 祝贺!中国彩灯博物馆成功创建省级爱国主义教育基地!
- 悦读者:假若你一直和时间比赛,你就可以成功!
- 皇兄拿毒酒敬弟弟并祝他活一千岁,弟弟回应一句话,成功逃过一劫
- “舌战群儒”只是小说家言,诸葛亮能成功,只因做好了三件事!
