
文章图片

文章图片

了解华为的朋友想必都知道 , 华为旗下有一家半导体产业投资平台 , 也就是哈勃投资公司 , 这家公司成立于2021年4月 , 在当时受到了外界的广泛关注 。
在不到一年时间里 , 哈勃投资已经发起了超过70笔投资 , 被投资企业超过60家 , 涵盖半导体材料、半导体设备、射频芯片、光电芯片、EDA软件相关等众多领域 。
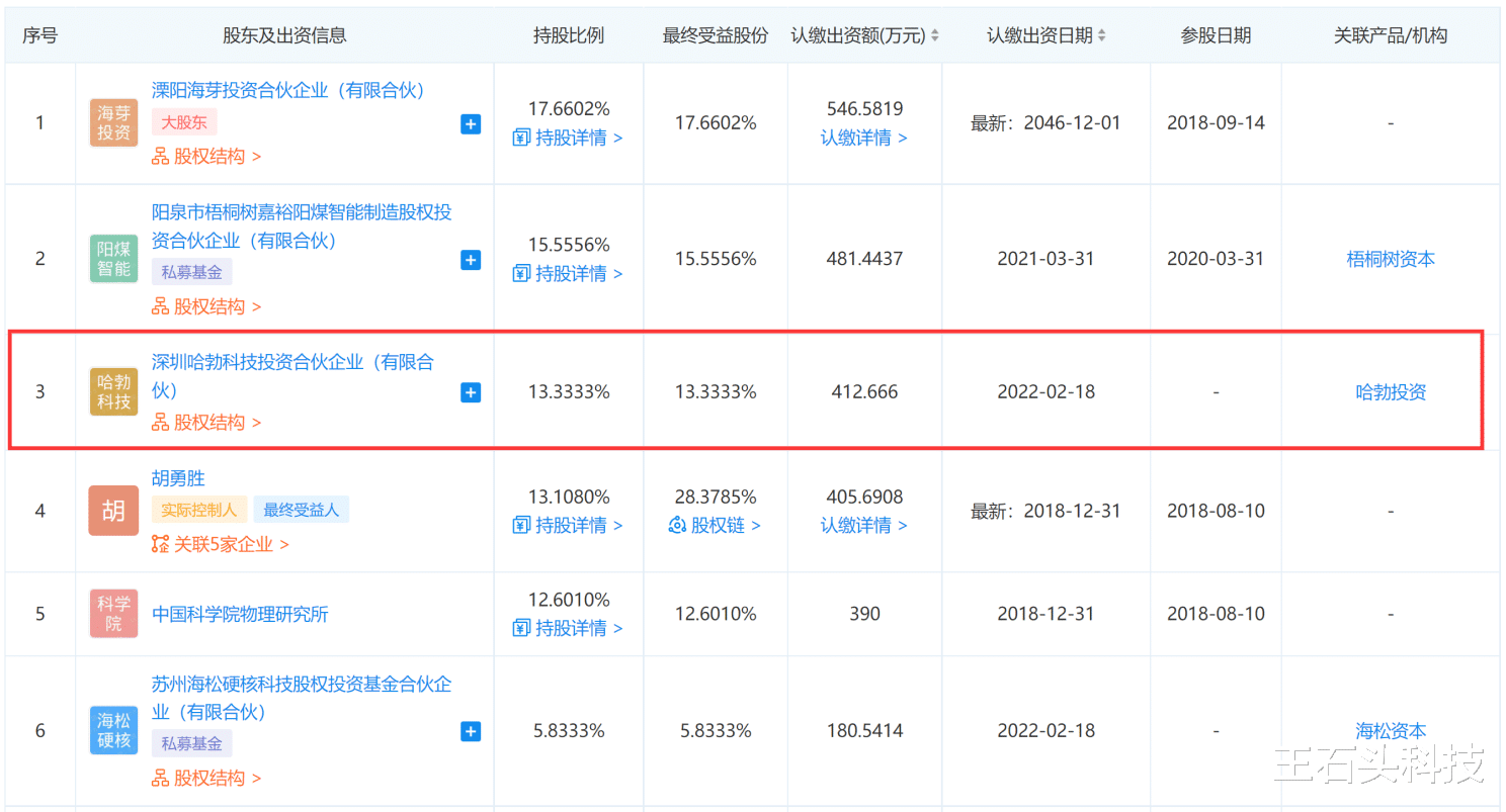
近日 , 华为哈勃投资又出手了 , 这次投资的是钠离子电池领域 , 北京中科海钠科技有限责任公司股东名单新增华为哈勃投资 , 根据股东信息显示 , 哈勃投资持股比例为13.3333% 。
公开信息显示 , 华为投资的中科海钠是一家专注于新一代储能体系-钠离子电池研发与生产的高新技术型企业 , 是国际上少有的拥有钠离子电池核心专利与技术的电池企业之一 。
钠离子电池与锂离子电池的工作原理相似 , 主要通过钠离子在正负极之间的嵌入、脱出实现电荷转移 , 但钠离子的体积较大 , 所以对材料结构稳定性和动力学性能方等方面的要求更高 。
正因为这样的原因 , 钠离子电池才迟迟未能摆脱商用瓶颈 , 但相比锂离子电池来说 , 钠离子电池具有突出优势 , 而且价格也低得多 , 关键是不受稀有金属的影响 , 所以各大电池企业都在进行相关研发 。
而这次华为投资中科海钠的消息公布后 , 外媒也高度点赞华为 , 对华为多领域布局的模式表示认可 , 并认为华为已经稳了!
【电子商务|华为再次“出手”,投资布局钠离子电池领域!外媒:华为稳了!】众所周知 , 2020年美方修改规则之后 , 华为在欧美的供应商都无法向其自由出货 , 导致华为智能手机和运营商等业务均受到了严重影响 。
近日华为发布的2021年报也反映出了问题的严重性 , 这年华为在全球的总营收已降至6368亿元人民币 , 相比上一年的营收少了超过2500亿元 。
对于现在的华为来说 , 多方面发展是非常重要的 , 所以才有成立哈勃投资涉及更多领域发展的一幕发生 , 而这次投资钠离子电池公司 , 也被外媒视作华为在自主供应链道路上的又一重大布局 。
目前行业主流的三元锂、磷酸铁锂电池会用到锂矿原材料 , 还有金属钴和金属镍等 , 而锂矿资源在国内是比较稀缺的 , 且主要储藏在盐湖里 , 在提取和质量方面都有着各种难处 。
进口锂矿材料是目前国内获取资源的主要途径 , 有大约70%需要依赖进口 , 从澳洲进口的比例最高 , 再就是印尼、菲律宾、南美洲等地区 , 至于钴国内是没有的 , 镍也非常少 。
而从华为此前的遭遇来看 , 既然锂矿材料关系着整个产业的未来发展 , 那么国外随时有可能减少或断供出口 , 到那时整个产业都会受到影响 , 为了避免卡脖子的事件再次发生 , 华为终于出手了 。
华为投资钠离子电池公司 , 就是为了保全产业长期稳定的发展 , 未来是新能源汽车的天下 , 华为也在该领域进行了相关布局 , 并推出了合作车型问界M5 。
从华为的布局来看 , 新能源汽车未来将是华为重要的增长方向 , 但想要真正大规模的推广新能源汽车 , 就一定不能依赖稀有金属的电池 , 这也是华为投资钠离子电池公司的原因所在 。
正因为华为全面布局各个领域未雨绸缪 , 外媒也对华为高度点赞 , 并认为华为稳了 , 相信华为早晚能重新回到巅峰时刻 。 对此你怎么看呢 , 欢迎评论、点赞、分享 。
- 华为手机|为什么用惯了华为手机的人,不愿换成iPhone机型,真实原因很实在
- 阿里巴巴|一个都逃不掉?俄决定再次公布,外媒:美企已经挡不住了!
- Google|谷歌华为们力捧的“军团”模式,能在家电业落地吗?
- 华为|赛力斯3月销量超极氪、岚图,华为卖车这事成了?
- 华为|计划泡汤了!外媒两大关键数据发布,华为赢得漂亮
- Uber|华为P50新机发布,价格够买两台小米 华为不容易,价格也是真的贵
- 华为鸿蒙系统|谷歌加大对华为鸿蒙系统的封锁,网友:实际上显示三个迹象!
- 华为|手机“寿命”榜出炉,华为并非王者,榜首难以撼动
- 应用商店|唯华为能与苹果相抗,从64位App看各大手机品牌应用商店现状!
- MySQL|时隔四年,华为的天终于要亮了!
