2020年以来 , 随着酱酒热潮涌起 , 各种市场乱象也沉渣泛起 。 红星资本局“1品酒”调查发现 , 销售“茅台镇洞藏酒”三无产品、傍“大腿”蹭名酒、无认证的年份酒等等乱象在市场上并不鲜见 。
对此 , 业内多名专家在接受红星资本局“1品酒”采访时认为 , 目前酱香酒虽然正在大热并处于风口 , 但其发展仍处于初级阶段 , 导致一些乱象不断出现 。 在专家们看来 , 要更好地实现酱酒市场的发展 , 不仅需要企业自觉履行自身的企业责任和社会责任 , 还需要监管部门进一步加强监管 , 以实现整个行业的健康可持续发展 。
乱象1:傍“大腿”蹭名人
已遭季克良否认 , 季老之徒酒仍在卖
红星资本局“1品酒”发现 , 一些无名小酒热衷于蹭茅台及茅台集团原董事长季克良的名气 。
在一家电商平台上 , 红星资本局“1品酒”就看到一款叫“泸酒老窖”的酒 , 稍不注意 , 还以为是泸州老窖 。 根据其广告显示 , 6瓶礼盒装的“泸酒老窖”由泸州国藏酒业有限公司出品 , 生产商是兰陵郁金香酒业有限公司 , 生产地址在山东省临沂市兰陵县兰陵镇仲村 。
其实 , 像这样蹭名酒傍“大腿”的还有很多 。 红星资本局“1品酒”在抖音上还发现了一款名为季老之徒的酒 。 抖音中 , 该酒摆满了一地 。
【红星|酱酒涨价热潮调查⑤ 销售三无产品、无认证年份酒……酱香热背后乱象盘点】白色瓷瓶、红色酒盖、红色飘带……如果不注意到酒瓶上印有“季老之徒酒”名称 , 很难与“飞天茅台”区别开来 。
文章插图
抖音中季老之徒酒摆满一地
红星资本局“1品酒”发现 , 该酒出自于一家名为贵州省仁怀市耀武扬威酒业有限公司 , 其法人代表为王平 。 那么 , 该公司是否与季克良有关呢?
署名为“茅台耀武扬威酒业有限公司厂家直销”的工作人员告诉红星资本局“1品酒” , 目前 , 该酒已经断货 , “如果你要的量少 , 我可以帮你找找 , 几箱酒应该会有 。 ”据其介绍 , 该酒的度数为53度 , 价格为128元一瓶 , 为捆子酒(俗称坤沙酒) 。
“你这个酒外观看起有点像飞天茅台啊?”面对采访人员的质疑 , 该工作人员称 , “两者根本就不一样 。 ”至于有哪些不一样 , 该人员并未详谈 。 与此同时 , 对于酒的名称 , 该工作人员称:“季是指季节性生产 。 ”
至于其是否是“季克良大师之徒”的问题 , 该工作人员未正面回应 。
红星资本局“1品酒”检索发现 , 该公司除了生产上述酒外 , 还包括有“季老贵宾品鉴酒”及“耀武扬威”等系列 。
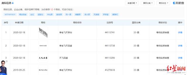
根据“天眼查APP”显示 , 该公司曾先后注册“季老飞天品鉴”“季老飞天萍台”等商标 , 目前均处于“等待实质审查”阶段 。 在中国商标网上 , 红星资本局查阅发现 , 早在2018年开始 , 王平就在申请“季老之徒”“季老之徒酒”的商标 , 最近一次显示为今年的2月7日 。
文章插图
王平申请的商标处于“等待实质审查”阶段
据了解 , 早在去年的时候 , 王平曾在接受媒体时称 , 其系季克良亲传弟子 , 公司资质和产品资质等一切手续齐全 。 王平曾表示 , 敢以季克良之名命名产品 , 不但得到了季老的首肯 , 甚至产品还得到了季克良的亲笔题字 。 不过 , 上述说法遭到了季克良的否认 , 季克良在接受媒体采访时表示 , “不认识王平 , 假的” 。
另外 , 红星资本局“1品酒”在中国商标网上查阅发现 , 王平还于2019年1月28日、 2020年5月20日申请了“季老飞天芧台”“季老芧台”等商标 。 乍一看 , 还以为是“季老飞天茅台”“季老茅台” 。
文章插图
王平申请了“季老飞天芧台”等多个商标
不过 , 该申请因“被驳回、不予受理等”致使其商标申请失效 。
乱象2:销售“三无产品”
禁销茅台洞藏酒仍可见 , 时间比公司成立还长
红星资本局“1品酒”还搜索发现 , 各大网站上有在大量售卖各种“茅台镇洞藏酒” 。
在某电商平台上 , 红星资本局“1品酒”看到了一款名为“首镇陈酿”的酒 。 广告称 , 该酒为洞藏30年陈酿酱香型白酒 , 价格为298元/瓶 , 由贵州首镇酒业有限公司出品 。
不过 , 红星资本局“1品酒”通过“天眼查APP”发现 , 该公司成立于2012年6月18日 , 位于茅台镇观音寺社区二组 。 那么 , 从2012年到现在也只有9年 , 为何会有洞藏30年的说法呢?
- 红星美凯龙北京至尊Mall 2022年目标责任大会
- 红星新闻|对话第一批SMA用药患者家属:曾打算卖房给孩子打针,现在一针三万多
- 红星新闻记者|工信部:完善医疗数据分类分级保护制度,强化医疗大数据保护
- 提价|多家知名药企中成药提价!近八成药材涨价,有品种价格翻番!啥情况?
- 蔬菜|周末蔬菜涨价孩子舍不得吃发育不良,多吃绿色菜,促进身体发育
- 红星新闻记者|冬奥参赛运动员是否需接种加强针?北京冬奥组委疫情防控办公室答红星新闻
- 疫情|冬奥参赛运动员是否需接种加强针?北京冬奥组委疫情防控办公室答红星新闻
- 红星新闻|为何西安出现多例出血热患者?专家:关中地区为高发区,今年与水灾有一定关系
- 运营|突然宣布:明年停止运营
- 运营|突然宣布:明年停止运营!
